面对疫情防控新形势、新任务,每个人都要做好自己健康的第一责任人。如果您有发热、咳嗽、流涕、咽痛等身体不适症状,可就近前往丰泽各基层医疗机构就诊。
丰泽区卫健局将持续公布具备接诊条件的基层医疗机构名单,请广大居民朋友们关注并可就近前往就诊。
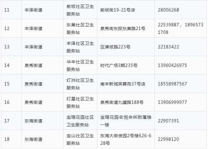
丰泽区社区卫生服务站


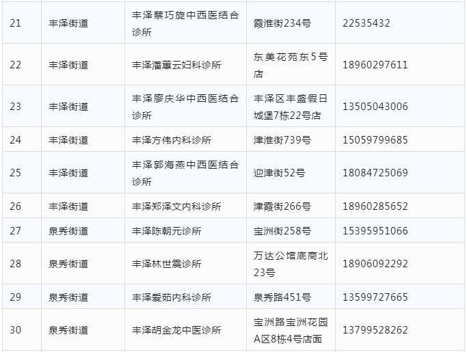
丰泽区诊所(第一批)





丰泽区卫健局提醒:广大居民朋友们,如您出现发热、呼吸道等症状,可自行自行就近前往已公布的医疗机构就医。请居民在就诊过程中,尽量乘坐私家车,不乘坐公共交通工具,全程佩戴口罩,点对点直达医疗机构,就诊过程中注意做好个人防护,最大限度降低交叉感染的风险。
① 未经本网授权不得转载、摘编或利用其它方式使用本网原创作品。已经本网授权使用作品的,应在授权范围内使用,并注明“来源:泉州网”。违反上述声明者,本网将追究其相关法律责任。泉州网欢迎各兄弟网站开展平等合作。
② 凡本网注明“来源:XXX(非泉州网)”的作品,均转载自其他媒体,转载目的在于传递更多信息,并不代表泉州网赞同其观点和对其真实性负责,被转载网站、媒体、当事人若认为有侵权之处请来电告知,我们将及时处理。
③ 由于网络的特殊性无法及时确认稿件作者并与作者取得联系。为了保护著作权人的合法权益,及时准确地向权利人支付作品使用费,请本网站所用作品的著作权人直接与本网站联系,商洽稿费支付事宜。对于使用时未及核实的权利人,可以向本网站提交权利人身份证明材料。 如需合法使用本网站发布的拥有完全版权的稿件,也请直接与本网站接洽。联系电话:22500260,22500194。 联系邮箱:qzw@qzwb.com。